百科问答

百科问答 国内资讯 公司资讯 政策法规 培训资料 产品下载

畅捷通T3-财务通标准版10 8plus2产品与其他产品关系

发布时间:2025-11-16 

特价活动:>>>> 用友U8、T6、T+、T3软件产品4折优惠,畅捷通T+cloud、好会计、好业财、好生意云产品8折优惠,另有话费赠送。

 

7.7.2 与其他产品关系

各系统之间的接口关系如下图:




注:1、表示资产增加;2、表示资产减少;3、表示原值变动;4、表示累计折旧调整;5、表示资产评估;6、表示折旧分配。


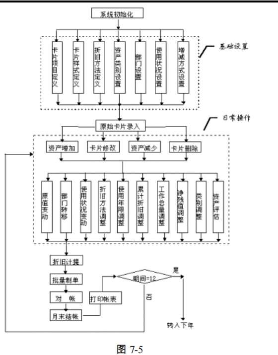
7.7.3 操作流程




7.7.4 系统初始和基础设置
7.7.4.1 系统初始


第一次使用固定资产系统打开一套账时,系统自动提示进行系统初始化。单击“是”,图中显示的内容是该账套的基本信息和系统处理的一些基本原则,请检查确定初始化的确实是该账套,并且认同系统的基本原则,选择“我同意”。同时,用户可以从【设置】菜单中选择【选项】,即进入系统选项设置界面。


7.7.4.2 基础设置

这些设置包括卡片项目、卡片样式、资产类别、增减方式、折旧方法定义。


7.7.4.2.1 选项

用户点击【设置】→【选项】,用户可以查看与账务系统接口、基本信息、折旧信息、其他。


7.7.4.2.2 资产类别

分别有列表视图和单张视图两部分。可在固定资产分类编码表中选择要增加类别的上一级资产类别:点击【增加】按钮,在“单张视图”编辑区输入类别编码、类别名称、使用年限、净残值率、计量单位、计提属性等资产类别信息。


7.7.4.2.3 增减方式

增减方式包括增加方式和减少方式两类。增加的方式主要有:直接购入、投资者投入、捐赠、盘盈、在建工程转入、融资租入。减少的方式主要有:出售、盘亏、投资转出、捐赠转出、报废、毁损、融资租出等。也分别有列表视图和单张视图两部分。


【操作步骤】:

1、如果增加的是第一级,请从图左侧的目录中选中“增加方式”或“减少方式”;如果增加的是第二级,请选中要添加下级的那种方式;
2、用鼠标单击工具栏上按钮【增加】;
3、输入增加的方式的名称和以该增减方式增减资产的对应入账科目,此处设置的对应入账科目是为了在生成凭证时缺省,例如增加资产,以购入方式时该科目可能是“银行存款”,投资者投入时该科目可能是“实收资本”,该科目缺省在贷方;资产减少时,该科目可能是“固定资产清理”,缺省在借方;
4、单击【保存】即可。


7.7.4.2.4 折旧方法定义

折旧方法设置是系统自动计算折旧的基础。系统给出了常用的五种方法:不提折旧、平均年限法(一和二)、工作量法、年数总和法、双倍余额递减法。


7.7.4.2.5 使用状况设置

【操作步骤】:
1、从【设置】菜单中选择【使用状况】,屏幕显示使用状况设置界面,您要给哪一种状况添加下级,从哪个所示的使用状况目录中选中该状况。
2、用鼠标单击工具栏上按钮【增加】,或单击鼠标右键后选择【增加】。
3、输入增加的使用状况的名称
4、判断该使用状况的资产“是否计提折旧”。

5、单击【保存】或鼠标右键选择【保存】即可。


X畅捷通软件官方正版.用友软件.企业云服务

截屏,微信识别二维码

客服QQ:5151867

(点击QQ号复制,添加好友)