百科问答

百科问答 国内资讯 公司资讯 政策法规 培训资料 产品下载

畅捷通T3-财务通标准版10 8plus2产品账表管理

发布时间:2025-11-16 

特价活动:>>>> 用友U8、T6、T+、T3软件产品4折优惠,畅捷通T+cloud、好会计、好业财、好生意云产品8折优惠,另有话费赠送。

 

7.6.7 账表管理
7.6.7.1 工资表
工资表包括以下一些由系统提供的原始表:工资发放签名表、工资发放条、工资卡、部门工资汇总表、人员类别汇总表、部门条件汇总表、条件统计表、工资变动明细表、工资变动汇总表等。以查看工资发放签名表为例


【操作步骤】:

1、 用户选中工资发放签名表后,点击〖查看〗,系统即弹出对话框,用户可选择要查看的部门;
2、 用户可点击 ,该部门即被选中;
3、 用户从备选的部门中选择要查看的部门,点击【确认】后即进入工资发放签名表界面;
4、 用户可查询当月工资发放签名表,也可查询其它各月的工资发放签名表;
5、 用户可查询选定的全部部门的工资发放签名表,也可查询某一部门的工资发放签名表。系统提供树型结构形式,用户可自由选择;
6、 工资发放签名表的打印可按部门分页打印;
7、 点击【连打】图标,该表也可按部门连续打印;
8、 点击【设置】图标,弹出对话框,在此可以对表头的行高和表体的行高进行设置,并能保存这些设置。


7.6.7.2 工资分析表

包括:工资项目分析表、员工工资汇总表(按部门)、分部门个各月工资构成分析、如何进行工资增长的分析、部门工资项目构成分析表、按项目分类统计表、按部门分类统计表、按月分类统计表。以查看工资项目分析表为例,用户在选定工资项目分析表后,点击【确认】按钮,即进入该功能。


7.6.7.3 纳税所得申报表

点击【账表】下的【纳税所得申报表】,则显示纳税所得申报表界面。用户可对该表进行“打印”“预览”“输出”“栏目”“设置”“定位”“过滤”等操作。


7.6.7.4 凭证查询

【操作步骤】:
1、在“查询期间”的两个下拉框中,选择输入所要查询的起始月份和终止月份;
2、光标停在某行时,可对所选凭证进行查询、修改操作:
3、点击【退出】,则返回工资管理主界面。


7.6.8 数据接口管理

使用数据接口管理工具可有效地将相关数据从外部系统中导入到工资管理系统中,例如在水电、房租系统、考勤系统、人事系统以及其他与工资管理有关系统中,将水电费扣缴、房租扣缴、考勤时数等数据导入到工资系统的对应工资项目。


7.7 固定资产

7.7.1 固定资产简介
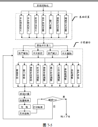
固定资产系统是一套用于各类企业和行政事业单位进行固定资产核算和管理的软件,能够帮助企业进行固定资产净值、累计折旧数据的动态管理,协助设备管理部门做好固定资产管理工作。该系统的主要作用是完成企业固定资产日常业务的核算和管理,生成固定资产卡片,按月反映固定资产的增加、减少、原值变化及其他变动,并输出相应的增减变动明细账,按月自动计提折旧,生成折旧分配凭证,同时输出相关的报表和账簿。


7.7.2 与其他产品关系

各系统之间的接口关系如下图:




注:1、表示资产增加;2、表示资产减少;3、表示原值变动;
4、表示累计折旧调整;5、表示资产评估;6、表示折旧分配。



7.7.3 操作流程






X畅捷通软件官方正版.用友软件.企业云服务

截屏,微信识别二维码

客服QQ:5151867

(点击QQ号复制,添加好友)