特价活动:>>>> 畅云管家新购、续费8折优惠,畅捷通T+cloud、好会计、易代账、好业财、好生意云产品8折优惠。
【问题现象】
设置完科目期初之后,资产负债表显示平衡,但是显示资产明细和期初不平衡,此时应该如何处理呢
【问题解析】
这里的不平衡,指的是固定资产卡片里面的期初金额和固定资产科目期初不平衡,即根据固定资产卡片录入期初的时候,金额没有一一对应。
【操作步骤】
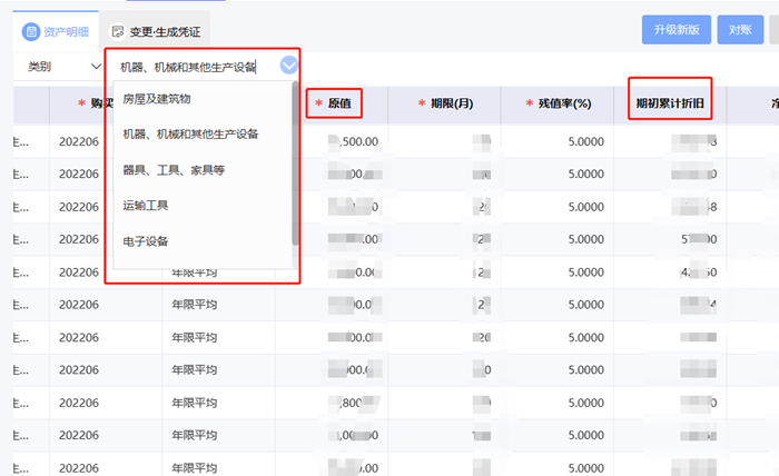
点击【固定资产】-【资产管理】,按照资产类型一一筛选后,对比科目期初,找到差异值,修改。

比如资产类型是器具、工具、家具的资产为例,可以查到,这个类别的资产原值为14800,期初累计折旧为1177.98,但是科目期初里面没有录入固定资产期初和累计折旧的期初,这样就会导致不平衡。所以在科目期初里,对应填上科目金额即可。
客服电话:400-665-0028
关键字:用友财务软件,畅捷通软件,财务软件,进销存软件,U9官网,用友U8,用友T1,用友T+,用友T3,用友T6,畅捷通好会计,好生意,智+好业财,用友培训服务售后公司,畅捷通运营培训服务公司
版权所有:用友畅捷通软件 Copyright © 2026 All rights reserved.