热门关键词好会计 好业财 T+ 易代账 好生意 用友U8 用友BIP

    详细信息

    您现在的位置:网站首页 >> 百科问答 >> 详细信息

    用友易代账如何无盘取票?

    特价活动:>>>> 畅云管家新购、续费8折优惠,畅捷通T+cloud、好会计、易代账、好业财、好生意云产品8折优惠 

    代账行业客户多,很多客户公司的税盘都是自己保管,我们月初取票要一家家去联系,是个不小的工作量,易代账拥有无盘取票的功能,可以让我们在没有税盘的情况下,直接提取客户开具的发票,一起来看看~


    【操作步骤】

    1、鼠标放到票据界面右上角的无盘取票,可以看到哪些地区支持无盘取票,检查下所代账的客户是否属于以上地区。

    图片1.png

    目前无盘取票支持地区:北京、河北、上海、江苏、浙江、山东、广东、海南、云南;其中山东、浙江、云南、海南四个地区只支持获取增值税专用发票。


    2、进入【易代账工作台】-【票据】-【智能取票】-【无盘取票】-【完善账密】-【填写信息】,将所有客户的网报密码、办理人员、办税密码等信息补充后,即可快速完成每个月的取票任务。

    图片2.png

    图片3.png


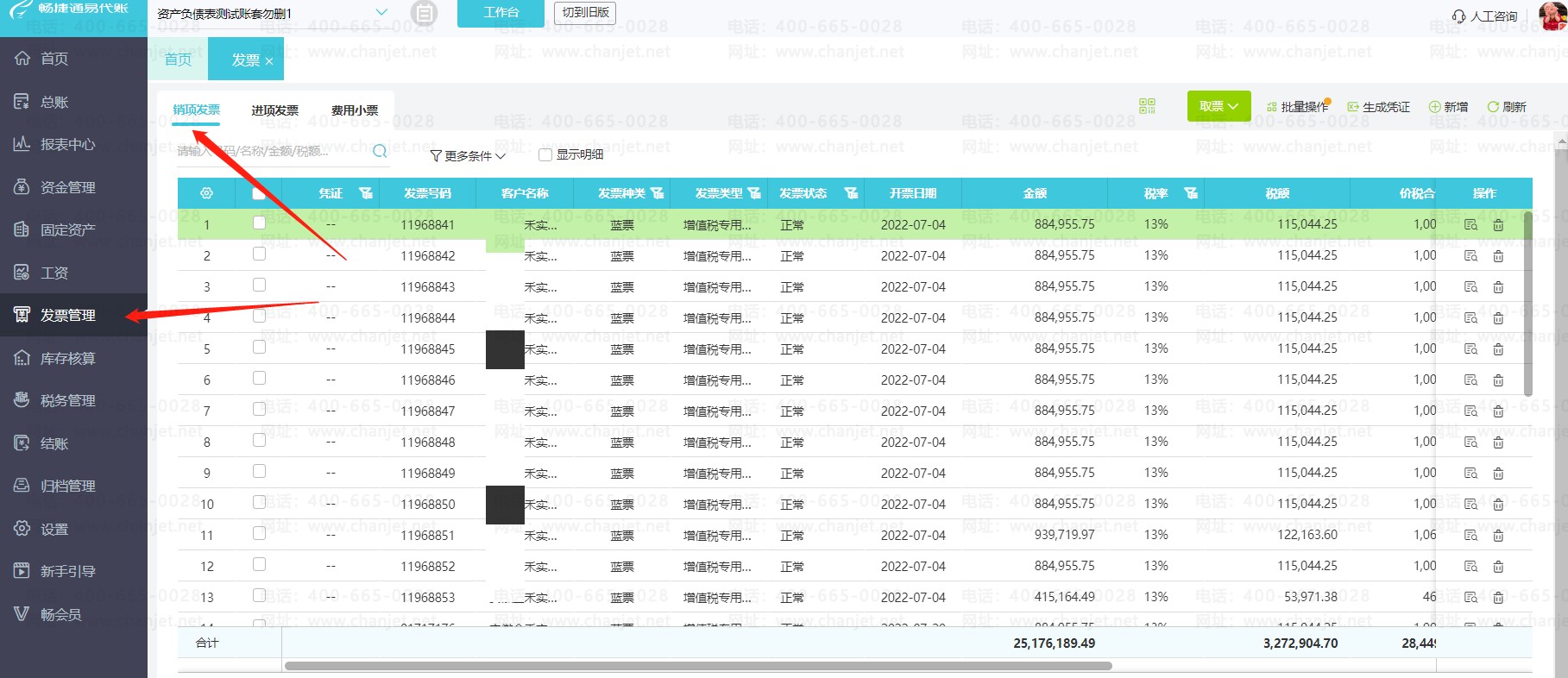
    3、选择客户,点击【无盘取票】,取票成功后,可以看到发票数据信息,如下图1,进入账套后,点击【发票管理】,可以看到取到的发票明细,如下图2,取票完成。

    图片4.png图片5.png


    用友软件的适用性较强,欢迎广大用户朋友咨询4006650028!

     

     

    上一篇:好会计使用技巧:日记账在哪里添加收支类型?

    客服电话:400-665-0028

    关键字:用友财务软件,畅捷通软件,财务软件,进销存软件,U9官网,用友U8,用友T1,用友T+,用友T3,用友T6,畅捷通好会计,好生意,智+好业财,用友培训服务售后公司,畅捷通运营培训服务公司

    版权所有:用友畅捷通软件 Copyright © 2026 All rights reserved.

    鲁ICP备2020041017号-6