特价活动:>>>> 畅云管家新购、续费7折优惠,畅捷通T+cloud、好会计、易代账、好业财、好生意云产品8折优惠。
用友正版财务软件免费注册试用_联系客服领取试用
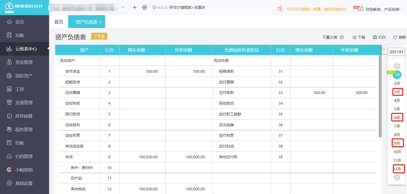
财务报表的季报和年报是如何取数的?
资产负债表季报及年报,资产负债表是时点报表,因为季报和月报是一样的,若要查看某个季度的数据,即直接查看该季度最后月份的数据情况,例如要查询一季度的数据,那么直接看3月份的资产负债表即可,若要查看年报则直接查看12月份报表。
点编辑公式,可以查看相关数据取自余额表什么科目,同余额表上数据核对。
利润表季报及年报,报表中心-利润表季报,可以查看各季度数据,本年累计列即体现利润表年报数据,利润表季报数据取自余额表。
现金流量表季报及年报,报表中心-现金流量表季报,可以查看各季度数据,本年累计列即体现现金流量表年报数据,现金流量表季报数据取自凭证中现金流量明细数据,根据科目现金流量对照表中科目和现金流量表的对照关系自动取数。
工会制度的账套报表新增年度报表数据,方便查看年度数据
客服电话:400-665-0028
关键字:用友财务软件,畅捷通软件,财务软件,进销存软件,U9官网,用友U8,用友T1,用友T+,用友T3,用友T6,畅捷通好会计,好生意,智+好业财,用友培训服务售后公司,畅捷通运营培训服务公司
版权所有:用友畅捷通软件 Copyright © 2026 All rights reserved.