热门关键词好会计 好业财 T+ 易代账 好生意 用友U8 用友BIP

    详细信息

    您现在的位置:网站首页 >> 百科问答 >> 详细信息

    如何快速检索好会计软件的辅助核算档案是否重复

    特价活动:>>>> 畅云管家新购、续费7折优惠,畅捷通T+cloud、好会计、易代账、好业财、好生意云产品8折优惠 

    【问题现象】

    如何检查辅助核算档案是否重复?


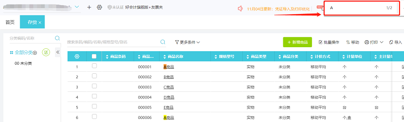
    【解决方法】

    1.进入系统,点击设置-辅助核算(注意:专业版及以下好会计点击辅助核算进入辅助核算档案,旗舰版好会计选择基础数据下的辅助核算分类进入)



    2.以存货辅助核算档案为例,在界面点击Ctrl+F, 查找需要检索的存货关键词,系统会自动识别相同的存货名称并标亮显示

    专业版及以下版本界面



    旗舰版界面



    3.删除重复的辅助核算存货信息即可




     

     

    上一篇:如何录入或者导入好会计的辅助核算期初数据

    客服电话:400-665-0028

    关键字:用友财务软件,畅捷通软件,财务软件,进销存软件,U9官网,用友U8,用友T1,用友T+,用友T3,用友T6,畅捷通好会计,好生意,智+好业财,用友培训服务售后公司,畅捷通运营培训服务公司

    版权所有:用友畅捷通软件 Copyright © 2026 All rights reserved.

    鲁ICP备2020041017号-6